cyberweekdeals - entdecken Sie bei ascasa vom 02.12. bis 08.12. die besten Angebote rund um Elektrogeräte!


Schock

Schock Signus D-150 FB flächenbündig, Stone

Schock Signus D-150 FB flächenbündig, Stoneproducts_warranty_conditions
Für eine größere Ansicht klicken Sie auf das Vorschaubild
Art.Nr.: SIG D 150 FB S/W STO
HAN: SIG D 150 FB S/W STO
Hersteller: Schock
Mehr Artikel von: Schock
    Grundpreis
    367,90 EUR
    Option
    0,00 EUR
    Gesamtpreis
    367,90 EUR
    inkl. 19 % USt.
    zzgl. 43,95 EUR Versandkosten (für Versand innerhalb Deutschlands)
    Versandkosten ausserhalb Deutschlands siehe Tabelle
    3,68 EUR Skonto bei Zahlung per Vorkasse
    Lieferzeit: 8-14 Tage (Lieferzeit Ausland und Berechnung siehe Tabelle)
    Farbe Premium-Glasschneidbrett
    In den Warenkorb




    • Details

    Produktbeschreibung

    Schock Signus D-150 FB flächenbündig, INKLUSIVE GLASSCHNEIDBRETT UND RESTESCHALE, Farbe: Stone

    Ausstattung:

    • für Unterschränke ab 60 cm
    • reversibel

      reversibel heißt: die Spüle läßt sich sowohl links als auch rechts herum einbauen; d. h. Sie können selbst entscheiden, ob Sie das Abtropfbecken auf der rechten oder auf der linken Seite haben möchten.

      einbaubar
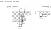
    • diese Spüle ist nur als flächenbündige Spüle einbaubar, ein Einbau als Einbau- bzw. Auflage-Spüle oder der Einsatz als Unterbau-Spüle ist nicht möglich! Es gibt von diesem Modell jedoch Schwester-Varianten, die dafür vorgesehen sind (anstelle "FB" am Ende "A" für die Einbau- bzw. Auflage Variante und "U" für das Unterbau-Modell)
    • Antibakteriell durch proHygienic 21
      Dieser Standard schafft ein natürliches, für Mikroben lebensfeindliches Umfeld und damit eine optimal hygienische und sichere Arbeitsumgebung.

    Abmessungen:

    • Länge 1000 mm, Breite 500 mm

    Im Lieferumfang enthalten:

    • Premium-Glasschneidbrett, schwarz
    • Resteschale
    • Diamantbohrer SB light
    • Ablaufgarnitur 3 1/2" inklusive aller Ablaufverbindungen
    • Korbventil
    • Excenterbedienung, Chrom glänzend

    Sonderzubehör: nicht im serienmäßigen Lieferumfang enthalten und somit gesondert käuflich zu erwerben (s. auch Kategorie "Zubehör")


    Passendes Zubehör

    • Mehr Bilder
    Schock Signus D-150 FB flächenbündig, Stone
    Schock Signus D-150 FB flächenbündig, Stone
    Schock Signus D-150 FB flächenbündig, Stone
    Schock Signus D-150 FB flächenbündig, Stone
    Schock Signus D-150 FB flächenbündig, Stone
    Schock Signus D-150 FB flächenbündig, Stone

    Diesen Artikel haben wir am 29.12.2017 in unseren Katalog aufgenommen.